Beschreibung
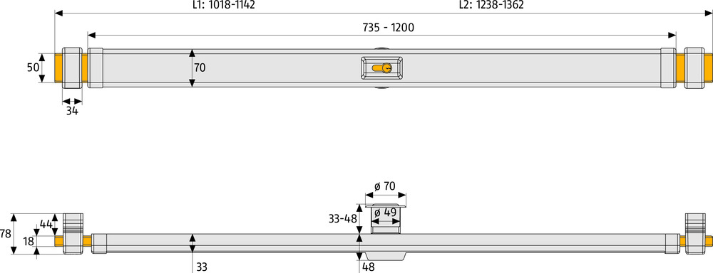
Ihre Holz-, Metall- und Kunststofftüren machen Sie mit diesem Panzerriegel sicherer. Egal, ob Sie ihn für Ihre Haus- oder Wohnungstür verwenden. Der Riegel sichert Türen über Ihre gesamte Breite. Diese können 73,5 bis 120 Zentimeter betragen. Ein Highlight: Die Montage ist besonders einfach, da die Breite des Riegels mit einem teleskopierbaren Rohrkörper angepasst werden kann. Zudem kommt eine Rückschlagsicherung zum Einsatz. Die Bedienung kann innen wie außen erfolgen.
Einen hohen Stellenwert im umfassenden Programm mechanischer Sicherheitseinrichtungen besitzen die ABUS Panzerriegel zur Türsicherung. Die zu sichernde Tür wird über die ganze Breite auf der Schloss- und der Scharnierseite geschützt. So erzielen Sie optimalen Widerstand gegen gewaltsame Aufbruchversuche.
Technologie
- Sichert die Tür über die gesamte Breite
- Teleskopierbarer Rohrkörper zur Anpassung auf unterschiedliche Türblattbreiten
- Riegel mit Rückschlagsicherung
- Für Türblattbreiten von 735 – 980mm (L1) und 980 – 1.200mm (L2)
- Mit VdS-Klasse-A-Zylinder erhältlich (ABUS Pfaffenhain Bravus B2L410)
- Komfortable und geräuscharme Bedienung durch spezielle Metall-Antriebskomponenten
- Umstellung der Schließrichtung möglich
- Umfangreiches Zubehör nutzbar
- Gehärtete Riegelrohre
- Nach DIN 18104-1
Einsatzgebiete
- Für Haus- oder Wohnungseingangstüren
- Bedienung von innen und außen mittels Schlüssel
- Geeignet für Türen DIN rechts oder DIN links
- VdS-anerkannt in Verbindung mit VdS-Klasse A oder höher anerkannten Türzylindern
- Mit Zubehör PA1018 auch für nach außen öffnende Türen einsetzbar

























Bewertungen
0.0 Durchschnittliche Bewertung Rated ( 0 Überprüfung )
Es gibt noch keine Bewertungen.